I recently bought this slim Newman MP because I liked the shape but it turns out that it has a hidden “feature”: the clip slides up and down and propels a sleeve that goes around the knock. When raised it reads Newman and in the low position a tantalising “BP” appears. Is it a pen/pencil combo ala Pilot switch, and if so how does it work?
I had a similar Newman. Not sure, but I think like mine, the mini BP refill is missing from yours.
I found another mention but the refill is missing there too.
These were in the comments of that DMP blog post.
https://www.instagram.com/p/BhJuZIPleuz/?igsh=cG5lOW5nbmVrM2tz
https://www.instagram.com/p/BhJudWVFGzc/?igsh=YW1mMWJlYmlwNGIw
Yea, that’s my blog.
Could it be from the same period where the Newman AB500S was released?
I don’t have an Instagram account, can someone please post captures here?
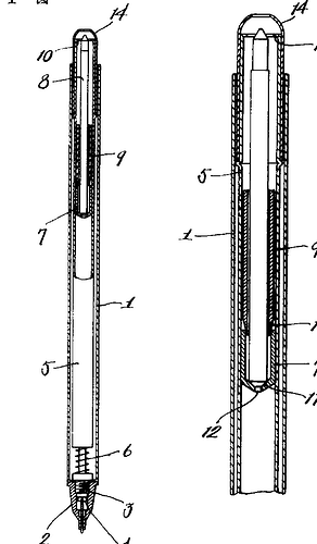
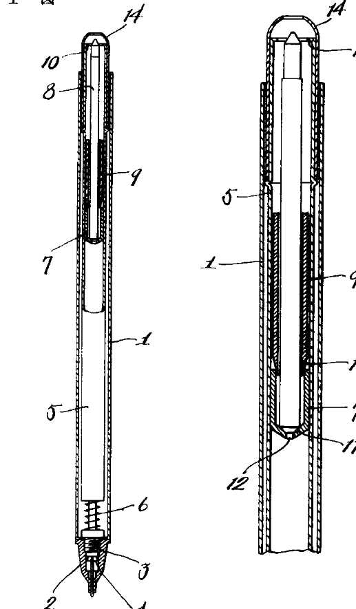
It’s the Newman Ball And Sharp. The ballpoint drops down when you point the rear side of the pen downwards. It’s a gravity-drop pen, a list of gravitydrops is here,
The utility models are JP,57-093488,U1(1982) and JP,57-128483,U1(1982) and JP,57-128484,U1(1982) and JP,58-039891,U1(1983)
This is a sketch by Hsi-chi on how it’s constructed (also note the rest of his post for additional variants)
Video of the working pen mechanism by Hsi-Chi:








